Medidores de caudal

Estos contadores electromagnéticos, que están basados en el principio Faraday para detectar un fluido conductor en un campo magnético, tienen la gran ventaja de medir con una elevada precisión. Además no producen pérdida de carga adicional, no se desgastan, no contienen piezas móviles y son resistentes a la corrosión.
Estos medidores de caudal electromagnéticos tienen diferentes diseños. Y están preparados para distintas aplicaciones.
Con ayuda de los sistemas de calibración más avanzados se reducen costes de fabricación, incrementando la calidad de los medidores de flujo, abriendo así la puerta a posibilidades de desarrollo novedosas para los productos.
Pueden ser utilizados en redes de distribución de agua potable, agua de riego, plantas de efluentes y, especialmente, gracias a su alimentación a pilas, en aquellos lugares remotos donde no llegue la red eléctrica.
Medidor de caudal electromagnético con bridas
El modelo de carrete, es un medidor de caudal electromagnético utilizado en aplicaciones agrícolas, con bridas que se insertan en tuberías de 4 a 8 pulgadas (100 a 200 mm de diámetro). Al no tener partes móviles, el caudal no se obstruye en ningún momento, es un sistema simple y económico que funciona muy bien y requiere mucho menos mantenimiento que los medidores mecánicos.
Este medidor de flujo de agua funciona con batería o alimentación externa. Los medidores de caudal electromagnéticos Seametrics, disponen de una pantalla que informa sobre el caudal total y el flujo.
Para su instalación se recomiendan unos tramos mínimos de tubería recta a entrada y salida del medidor, antes de los codos, donde el valor de “x” será el diámetro de la tubería.
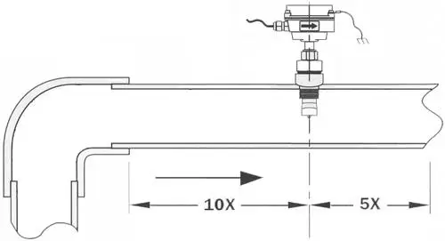
Medidor de caudal electromagnético pinchado
Medidores de caudal de agua largos y ajustables para insertar en tuberías de 3 a 48 pulgadas (75 a 1.220 mm de diámetro). Se trata de una buena alternativa a los medidores de carrete, con sensores de latón o acero inoxidable.
Tampoco tiene partes móviles, por lo que pueden utilizarse en la mayoría de aplicaciones “sucias”, sin requerir apenas mantenimiento. Se pueden instalar en cualquier aplicación. Disponibles opcionalmente con una válvula de aislamiento para permitir su instalación sin necesidad de cortar el suministro.
Para su instalación se recomiendan igualmente unos tramos mínimos de tubería recta a entrada y salida del medidor, antes de los codos, donde el valor de “x” será el diámetro de la tubería.





He instalado un medidor de caudal electromagnético pinchado en una tubería de 33 pulgadas de diametro. Su instalación ha sido fácil y económica y las mediciones son bastante precisas.
Me resulta más práctico el medidor de caudal para pinchar en mi instalación que ya es antigua, puesto que podría mantener la conducción tal y como está.
¿Cuál es la largura máxima de cable admitida sin pérdida de señal en los medidores de caudal electromagnéticos de pinchar Seametrics?
El modelo 4-20 puede llegar a 2000′ (610 metros) con cable de 18 AWG, pero con salida a pulso sería un poco más difícil calcularlo. La razón es porque el FT420M tiene señal NPN, y por lo tanto necesitaríamos conocer la resistencia e impedancia del dispositivo que maneja el pulso.